ASINTM

亚速品牌

当前位置: 首页 > 行业动态

中国品牌日│起底2020中国品牌榜背后的商标

2020年05月12日 阅读量:3576

2017年以来,5.10 中国品牌日活动已是第四届了。今年的“中国品牌日”活动于本月10日正式开幕,首次采用全程在线展演形式,在云端开启。这是疫情爆发后我国第一个国家级展会,也是第一个高规格的云上展会。本次活动还选取不同行业、不同维度进行了品牌价值的测评和对比分析,发布了“2020中国(行业)品牌100“5.10中国品牌日十大创新力品牌“5.10中国品牌日十大社会责任品牌“5.10中国品牌日十大品牌传承人等行业榜、单项榜和人物榜,并举行了隆重的云上颁奖仪式。


这些优秀的品牌背后都有着众多的注册商标,越是知名的品牌越是注重商标的注册和保护,同时从各大品牌近期注册的商标,也能一窥行业领袖们近期的商业布局。至于有没有商机存在,就见仁见智了。今天是护士节,为致敬逆行的白衣天使,我们先从“抗击疫情•中国优秀品牌”讲起。

中粮集团

中粮集团有限公司是世界500强企业,是中国最大的粮油食品企业,中央企业,同时上榜“中国品牌500强”、“5.10中国品牌•十大社会责任品牌,旗下可检索到的商标计有1435件。


 

海口奇力制药股份有限公司

海口奇力制药股份有限公司是海南省医药生产企业、国家高新技术企业,“2018年度中国化药企业TOP100排行榜65。旗下可检索到108件商标,多集中在第5-医药,2014年之后暂无新注册商标。


 

天能集团

天能集团,中国动力电池生产商,成立于1986年,地处浙江长兴。2007年在香港联交所主板上市,入选2019中国品牌强国盛典榜样100品牌。旗下有注册商标391件。


 

淮安市洪泽区洪泽湖大闸蟹协会

洪泽湖大闸蟹是淮安名产,是国家地理标志保护产品,入选全国十大名蟹,获得中国驰名商标。淮安市洪泽区洪泽湖大闸蟹协会由当地多家企业、个人和养殖户所组成。入会企业的商标多为大闸蟹的商标名称。值得注意的是,“洪泽湖大闸蟹商标第35类目有撞车。


 

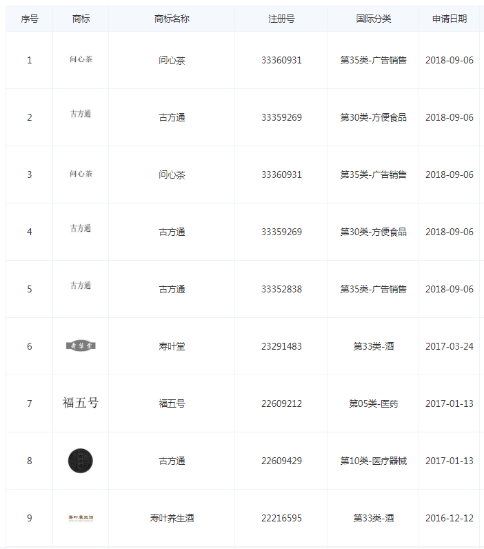
寿叶堂

即上海寿叶生物科技有限公司,产品以茶疗养生保健产品为主,旗下有注册商标22件。


 

恒大集团

恒大成立于1996年,以民生地产为基础,文化旅游、健康养生为两翼,新能源汽车为龙头的世界500强企业集团。旗下有注册商标2559件。


 

吉利控股集团

浙江吉利控股集团始建于1986年,旗下拥有吉利汽车、领克汽车、沃尔沃汽车、Polestar、宝腾汽车、路特斯汽车、伦敦电动汽车、远程新能源商用车、太力飞行汽车、曹操专车、荷马、盛宝银行、铭泰等众多国际知名品牌。注册商标计有6411件。


 

中国中车集团有限公司

中国中车集团有限公司是国务院国有资产监督管理委员会直接管理的中央企业2020年全球最具价值500大品牌榜排名第275。旗下注册商标有14件。


 

最后,感谢以上企业对全国抗疫工作所做出的突出贡献,期待世界各国早日战胜病毒。